苏保乐 刘东霞
(潍坊出入境检验检疫局,潍坊261041)
摘要:出口腌制蔬菜在出口创汇、创造就业机会以及增加附加值方面发挥着重要的作用,但受韩国丙酸技术壁垒的影响,给我出口企业造成了经济、信誉的的双重损失。潍坊局利用HACCP原理对有机体内丙酸进行普查和降解研究,应用于生产实践中,与丙酸有关国外预警率下降95%,2016年7月,中韩两国在上海举行的中韩自贸区SPS委员会第一次会议上,质检总局代表我国将此课题研究成果提交韩方并进行嗟商,取得了阶段性成果。
关键主词:丙酸 HACCP 检验检疫
中图分类号:TS207.7 文献标示码: A
1.腌制蔬菜在出口创汇中占据重要地位
出口腌制蔬菜作为一种最广泛、最大众化的蔬菜制品,在出口创汇、创造就业机会以及增加附加值方面发挥着重要的作用。2012年山东省出口腌制蔬菜16.78万吨、创汇额2.3716亿美元,按专家所测算的每1万美元农产品出口能直接和间接创造约20个就业岗位计算,腌制蔬菜出口可为山东省创造47.43万个就业岗位;在增加附加值方面,以生姜为例,2012年山东省保鲜生姜出口平均价格为784.37美元/吨,腌制生姜的出口平均价格为915.48美元/吨,吨平均价格提高16.7%。
各种发酵产物中均含有丙酸,厌氧发酵条件下,如果有丙酸杆菌,就可能产生丙酸,包括泡菜在内的各类腌渍菜,在发酵过程中都可能会产生丙酸。韩国卫生法中规定:除面包、点心、奶酪、果将类外食品中均不得使用丙酸,尤其是对腌渍菜进中丙酸控制非常严,其限量要求为“不得检出”。丙酸问题已成为我国出口腌渍菜的主要障碍。从时间上来看,从2006年韩国对丹东地区出口腌渍菜检出丙酸开始,到目前还时有发生;从出口地区来看,从北方丹东至南方,几乎覆盖所有出口腌渍菜的地区;从品种上来看,既有蒜薹、紫苏又有辣椒叶等;从预警发展趋势上来看有上升趋势(见图1:2007-2014)。因检出丙酸而产生问题给我出口企业造成了经济、信誉的的双重损失,据不完全测算,仅2014年因此而产生的直接损失达5000多万人民币。2009年-2011年,潍坊检验检疫局进行了开展了以HACCP技术研究为核心的“腌制蔬菜安全关键技术及风险控制模型的建立及示范应用(SK200980)”,并将成果就用于出口实践。成果应用以来,近7年未再发生因丙酸被国外预警的案例。2016年7月,中韩两国在上海举行的中韩自贸区SPS委员会第一次会议上,质检总局代表我国将此课题研究成果提交韩方并进行嗟商,取得了阶段性成果。
图1 2008至2016年我国因丙酸被国外通报次数走势图
1.材料与方法
1. 1输韩腌渍菜HACCP制定。以输韩腌渍辣椒叶为例进行研究。辣椒叶加工前均含水分较高,易变质和异物混入,在种植过程中易受到农药的污染,贮存过程中易产生丙酸等物质。最终产品具有该产品应有的自然色泽、滋味及气味,盐度4℃,能够直接食用或经调味后再食用。
1.2输韩腌渍菜(辣椒叶)丙酸普查。
1.3气泡清洗机的研制
将常规清洗机进行改良,一是在不锈钢箱体内置强力气泡管道一套,两边各安装气泡清洗机一套,支架为不锈钢方管,底部安装调节丝,传送带为不锈钢丝缠绕刮板式网带;二是出料口处安装喷淋装置。主要是利用气泡打散原料而又不损伤原料,并在滚动的气泡中得到充分清洗,随网带提升至下一道工序,在出口处有高压水喷淋进行二次清洗。
2.结果
2.1 样品扦取。随机扦取样品10份。
表1:丙酸普查情况
|
样品 |
贮藏场所(mg/kg) |
检验结果(mg/kg) |
贮藏时间(月) |
|
样品1 |
密闭存放 |
14.2 |
10 |
|
样品2 |
密闭存放 |
35.4 |
9 |
|
样品3 |
密闭存放 |
45.3 |
12 |
|
样品4 |
露天存放 |
86.7 |
9 |
|
样品5 |
露天存放 |
78.4 |
10 |
|
样品6 |
密闭存放 |
27.3 |
7 |
|
样品7 |
密闭存放 |
28 |
8 |
|
样品8 |
密闭存放 |
26 |
9 |
|
样品9 |
密闭存放 |
35.4 |
9 |
|
样品10 |
密闭存放 |
17.7 |
7 |
通过普查,在潍坊地区辣椒叶腌渍、存放过程中,丙酸会在7-12个月内产生17.7 -86.7mg/kg丙酸。
2.2 丙酸降解实验及关键限值的确定
表2:不同方法丙酸降解实验
|
样品 |
原料(mg/kg) |
一遍清水清洗(mg/kg) |
二遍清水清洗(mg/kg) |
三遍清水清洗(mg/kg) |
四遍清水清洗(mg/kg) |
|
正常清洗样品1 |
121.3 |
45.6 |
23 |
28 |
10 |
|
正常清洗样品2 |
121.3 |
63.9 |
24.2 |
29 |
10 |
|
正常清洗样品3 |
121.3 |
75.3 |
35.5 |
31 |
10 |
|
正常清洗样品4 |
121.3 |
52.4 |
43.4 |
24 |
10 |
|
正常清洗样品5 |
121.3 |
63.9 |
27.8 |
27 |
10 |
|
正常清洗样品6 |
121.3 |
86.3 |
26.6 |
32 |
10 |
|
气泡清洗样品1 |
121.3 |
23 |
10 |
10 |
10 |
|
气泡清洗样品2 |
121.3 |
27 |
10 |
10 |
10 |
|
气泡清洗样品3 |
121.3 |
26.9 |
10 |
10 |
10 |
|
气泡清洗样品4 |
121.3 |
27.4 |
10 |
10 |
10 |
|
气泡清洗样品5 |
121.3 |
28.2 |
10 |
10 |
10 |
|
气泡清洗样品6 |
121.3 |
29.3 |
10 |
10 |
10 |
图2:丙酸消除技术研究
通过趋势图可以看出,一是多遍清水清洗对于丙酸消解具有良好的效果;二是改良后的气泡清洗机对于丙酸消解具有一定的效果;三是对于数值小于121.3 mg/kg的丙酸可能通过清洗法将丙酸去除.通过经验得出丙酸临界值(加工过程使用联式气泡清洗机:丙酸限量<110mg/kg,不使用联式气泡清洗机(清洗4遍):丙酸限量<110mg/kg)。
2.3 HACCP的确定
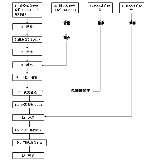
2.3.1加工工艺流程图:

![]()
2.3.2加工工艺操作规程
1)腌渍辣椒叶:查验原料生产厂家所提供的包括丙酸(加工过程使用联式气泡清洗机:丙酸限量<110mg/kg,不使用联式气泡清洗机(清洗4遍):丙酸限量<110mg/kg)、多残留农药检测在内的报告;必要时由化验室扦样检验原料中农药残留量、丙酸是否与厂家的检测报告一致,以保证必须符合使用要求。丙酸限量每季度对发运前成品验证一次。
2)调味料(盐):检查产品的数量、重量、包装、合格证
3)包装袋:数量、规格、品种各项目抽检,必须符合规定要求。包装袋要有卫生检验合格证明。
4)包装箱:按定货量对数量、规格进行确认。对纸箱印字状况、破损状况等抽检,符合标准要求。
5)脱盐:将检验合格后的半成品按工艺要求放入清洁的工作池内进行脱盐。
6)清洗:将脱盐后的半成品用符合国家饮用水标准的水使用联式气泡清洗机(SL-1)进行清洗。
7)挑选:将清洗好的半成品进行挑选,将除产品以外的任何杂质挑出。
8)料水:将加工用水中按比例放入盐,制成料水待包装时用。
9)计量、装袋:将挑选好的半成品称重后按比例加入一定的料水,放入无毒的食品袋内。装袋前检查袋体上的印字是否完整。
10)真空包装:将装有产品的包装袋用真空包装机封口,确保封口压痕整齐抽气良好。
11)金属探测:将真空包装后的产品过金属探测进行检测,确保产品内无金属等异物。
12)装箱入库:将通过金属探测的产品装箱,注明生产日期、包装重量后入冷藏库储存。发运前抽样验证,每季度一次。
13)调运:产品经—1℃至—3℃之间冷藏集装箱装运。
2.3.4 HACCP计划方案
|
(1) 关健控制点CCP |
(2) 显著危害 |
(3) 每个预防措施的关健限值 |
(4)
|
(5)
|
(6)
|
(7)
|
(8) 纠正措施 |
(9) 记录 |
(10) 验证 |
|
原料接收 ccp1-1 |
化学药物残留 |
1. 合格供方 2. 产品的检测报告 3. 丙酸关键限值<110mg/kg 4. 每季度验证一次 |
合格供方名单 产品的检测报告 |
查看 |
按进货批次批批检查 |
质检员 |
不合格拒收 |
验收记录 |
由质检科科长审阅记录 |
|
丙酸 |
|||||||||
|
盐的接收 ccp1-2 |
化学药物残留 |
1.合格供方 2.产品的检测报告 |
合格供方名单 产品的检测报告 |
查看 |
按进货批次批批检查 |
质检员 |
不合格拒收 |
验收记录 |
由质检科科长审阅记录 |
|
金属探测
ccp2 |
金属碎片 |
Feφ≤1.5mm SUSφ≤ 2.0mm |
金属碎片 |
金属探测仪 |
连续检测 |
金属探测仪操作员 |
如发现偏离,停止生产,查找原因,消除危害源并重新探测;对偏离期间产品作评估,确认可否返工 |
监控记录 |
开工前和开工中每小时检验一次金属探测仪的灵敏度记录复查 |
3.讨论与小结
3.1讨论
3.1.1进一步加大对有机体自身所产生丙酸的普查,不同的产品、不同的贮存方法及贮存时间等均影响丙酸的含量,如与韩方加大交涉力度,有必要对其加大研究力度。
3.1.2二是开展丙酸的检测研究,韩方对丙酸的检出限量为10mg/kg以下,有的通报检出限量为4mg/kg,而我国多数检测机构未开展此项目检测或检出限量为20mg/kg,与当前输韩外贸需求不相称。
3.2小结
利用HACCP原理打破韩国腌渍菜中丙酸壁垒的技术研究,有效地实现了以下目标,一是厘清了出口腌渍菜中丙酸的检出来源于有机体自身产生、外部添加等因素,其产生机理非常复杂;二是充分利用中韩自贸区SPS委员会加大与韩方丙酸壁垒的交涉力度,促使韩方尽快形成专门议案,并由国会通过;三是通过课题创新所发明的气泡清洗机对丙酸进行去除研究;四是监管方式把“被动”对最终成品的监管改变为“主动”对生产全过程的监管;五是有效地保证了食品安全;自课题成果应用以来,潍坊地区输韩腌渍菜未再检出丙酸(而我国其它地区输韩丙酸的检出呈现增长趋势见图1),极大地保证了出口腌制蔬菜的质量安全。
苏保乐:男,潍坊检验检疫局寿光办事处,主任科员兼副科长,硕士研究生,研究方向为食品检验。

手机版

